传播属于全行业的知识和智慧
Sharing cutting-edge knowledge and skills with the entire industry

内容详情

LNG接收站海水蝶阀选型分析

2025-09-12 00:00


出品 | 《阀门》期刊

作者 |  王邦捷,周其圣,贾琦月,杨剑

摘要:随着LNG市场的发展,海水蝶阀作为一种常用阀门,在LNG接收站项目中承担了较为重要的角色,海水蝶阀的正确选型和使用将影响到整个LNG接受站项目的运行。针对目前LNG接受站中海水蝶阀的应用场合和管道参数,本文对目前已选用的三种结构的海水蝶阀进行了详细介绍,通过对三种海水蝶阀关于材料选择、密封性能、经济性三方面的分析,得出在不同项目和管道参数要求的情况下应选择不同结构的海水蝶阀,为今后LNG接受站项目中海水蝶阀的选型提供了参考和建议。

关键词:LNG接收站;海水蝶阀;选型分析

01

概述

液化天然气(LNG)是一种高效的清洁新能源,已成为新能源市场的热点之一,LNG是天然气市场的重要组成部分。我国的LNG产业近几年发展越发迅速,分别在江苏、浙江、天津、广东等沿海地区新建了较多LNG接收站项目。

LNG接收站主要包括:LNG接收码头、LNG储罐区、增压/冷凝区、气化区、计量区、槽车装车区、海水取水排水区、火炬区、公用工程、办公区。其中,海水取排水区是LNG接收站的重要组成部分,主要负责接收站所需的海水供应和排水工作。该区域涵盖了海水泵房、取水口、海水供应管道、排水明渠以及排水口等设施。通过海水泵的运作,海水被输送到ORV气化器中,与LNG进行换热,从而实现对LNG的气化。换热后的海水再经由排水明渠排入大海,完成整个循环。海水取排水区应用了大量的海水蝶阀。

本文结合目前各个LNG接收站项目中应用海水蝶阀管道的参数及已选用的海水蝶阀结构,从海水蝶阀的材料选择、密封性能、经济性三方面阐述各种结构海水蝶阀的优缺点,并提出海水蝶阀的选型建议。

02

海水蝶阀选型方案

2.1  海水蝶阀结构分类

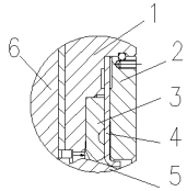
目前大部分采购方和业主对海水蝶阀的选型主要为三类:中线软密封衬胶蝶阀、双偏心软密封高性能蝶阀、三偏心硬密封蝶阀,三种类型海水蝶阀的结构示意如图1所示。在实际应用中,某LNG接收站气化外输改造项目选型为三偏心硬密封蝶阀、某LNG项目选型为双偏心软密封蝶阀、某LNG应急调峰站项目接收站工程选型为中线软密封衬胶蝶阀。

(a)

(b)

(c)

(a)中线蝶阀  (b)双偏心蝶阀  (c)三偏心蝶阀

图1  三种海水蝶阀结构示意图

2.2  海水蝶阀选型分析

2.2.1  阀门材料分析

海水对阀门的腐蚀性主要有电化学腐蚀和高浓度盐类离子腐蚀。其中,电化学腐蚀是由于海水的导电性强,不同金属同时与海水接触易形成电腐蚀,加速金属腐蚀;高浓度盐类离子腐蚀是由于金属与海水中的氯离子、硫酸根离子等发生化学反应,破坏金属表面的保护层,导致腐蚀,降低材料的耐久性。

中线衬胶软密封蝶阀通过衬胶的方式隔绝了海水与阀门阀体的接触,所衬橡胶选用耐海水腐蚀性强的EPDM橡胶;EPDM橡胶对酸、碱、盐等腐蚀性介质的抵抗力极强,因此在盐分较高的海洋环境中应用广泛。这种材料不仅可以耐海水,还能够抵抗海水中含有的各种化学物质,如硫酸盐、钠离子等。由于衬胶已经隔离了海水与阀体的接触,阀体可选择碳钢材料,具体零部件材料选择可参照表1。

表1  中线蝶阀材料表

部件
阀体
阀座
蝶板
阀杆
材料
WCB/QT450
EPDM
C95800/4A
Monel 400

双偏心软密封高性能蝶阀由于其阀体直接与介质接触,故阀体材质一般选择用耐海水腐蚀的双相不锈钢,且蝶板和阀杆材质同样为双相不锈钢。双相不锈钢的双相是指铁素体相与奥氏体相,该材质同时具有奥氏体和铁素体的特点,与铁素体相比,其韧性、塑性更好,无室温脆性,焊接性能和耐晶间腐蚀性能均有明显增加,具有铁素体不锈钢475 ℃脆性、导热系数高、超塑性等特点;与奥氏体不锈钢相比,其强度、耐氯化物应力腐蚀及耐晶间腐蚀能力均有显著提高。双相不锈钢的微观结构中含有较高的铬和钼元素,能够形成致密的氧化膜,阻止腐蚀性介质的侵入。在海水环境中,双相钢表现出良好的耐点蚀和缝隙腐蚀性能,在海洋工程中可有效抵抗海水腐蚀和海浪冲击。双偏心软密封高性能蝶阀材料选择见表2。

表2  双偏心蝶阀材料表

部件
阀体
阀座
蝶板
阀杆
材料
4A/5A
RPTFE
4A/5A
F53

硬密封三偏心蝶阀同软密封双偏心高性能蝶阀相同,阀体也是与海水介质直接接触,不同的是由于结构原因,蝶板密封圈材料采用双相钢+PTFE的多层次结构或双相钢堆焊司太立的纯硬密封结构。三偏心硬密封蝶阀材料选择见表3。

表3  三偏心蝶阀材料表

部件
阀体、蝶板
阀座
蝶板密封圈
阀杆
材料
4A/5A
堆焊STL
2205+PTFE/2205+STL
F53

2.2.2  阀门密封性能分析

中线衬胶软密封蝶阀结构为中线型,其轴线与管道的轴线重合,旋转中心在管道的中心位置。这种设计使得蝶阀在开启和关闭过程中扭矩具有良好的平衡性,操作更加流畅,结构简单,采用软密封设计,密封性能好,能够实现双向密封。但由于中线蝶阀密封是依靠蝶板转动挤压阀座产生弹性变形而形成的密封,故管道介质压力不能太高,只适用于介质压力≤1.6 MPa的工况,当口径超过DN600时,介质压力不能超过1.0 MPa;若通过挤压量提高密封性能,则阀门扭矩将显著增加,且阀座密封圈与蝶板在开关任何位置都存在部分挤压和刮擦状态,从而导致磨损较快。因此,当介质压力超过1.0MPa时,不建议使用中线衬胶蝶阀。

双偏心软密封高性能蝶阀采用双偏心结构,阀杆旋转中心与蝶板密封圈截面中心形成一个偏心,与阀体流道中心形成另一个偏心。双偏心阀门在开启瞬间蝶板能快速脱离阀座,蝶板与阀座之间不存在持续挤压和刮擦现象。此外,双偏心软密封高性能蝶阀在传统的双偏心蝶阀基础上改进了阀座结构:将阀座密封圈设计为带U型槽的结构,蝶板为整体结构,蝶板密封面堆焊司太立,最后进行研磨、抛光。该结构有以下优点:

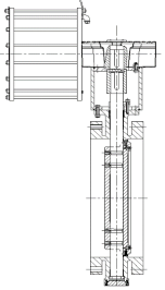
(1)由于阀座的特殊结构,双偏心软密封高性能蝶阀可实现双向全压差密封要求,适用于压力≥1.6 MPa的海水介质工况,阀座结构见图2。其密封原理为:当压力从阀座密封圈方向进压时,介质压力挤压在阀座密封圈的U型槽上,使阀座密封圈紧贴蝶板,压力越大,阀门密封效果越好;当压力从阀杆方向进压时,推动蝶板靠近阀座密封圈,阀座压圈紧紧压住阀座密封圈,使阀座密封圈紧贴蝶板,从而达到密封效果。

1.阀体  2.阀座压圈  3.阀座密封圈  4.防火圈  5.阀瓣  6.阀杆

图2  双偏心软密封高性能蝶阀阀座结构示意图

(2)阀座密封圈为活动密封圈,当阀座密封圈有损坏时,维修、拆卸方便;若有防火需求,阀座密封圈处可装金属防火圈,当发生火灾烧坏阀座密封圈时,金属防火圈与蝶板可形成密封副。

(3)开关启闭扭矩小,开关时蝶板和阀座密封圈之间的磨损较小,适合高频操作,使用寿命长,达到开关100万次以上。

但该结构对蝶板和阀座密封圈的尺寸公差和加工精度要求较高,且阀门密封效果依赖关闭位置,对关闭位置有着严格要求。因此,当介质压力大于1.0 MPa、对密封要求比较严格且要求双向等压密封时,双偏心软密封高性能蝶阀是优选。

三偏心蝶阀的三个偏心分别是阀杆旋转中心与蝶板密封圈截面中心之间的尺寸偏心a、阀杆旋转中心与阀体流道中心之间的尺寸偏心b、阀体中心与阀体密封面角度中心形成的角度偏心c,具体见图3。

图3  三偏心蝶阀偏心角度示意图

三偏心密封蝶阀在全开位置时,蝶板密封圈与阀座密封面完全脱离,两者之间存在一个间隙,只有在关闭瞬间蝶板密封圈才会紧压阀座密封面。由于偏心角c的存在,在蝶板旋转的大、小半圆上,蝶板密封圈旋转轨迹的切线与阀座密封面之间形成了α1和α2两个角(见图4),这使得蝶板在开关时,蝶板密封圈相对于阀座密封面在逐渐脱离和逐渐压紧,从而消除了阀门启闭时二者之间的机械磨损和擦伤;由于α1和α2的存在,三偏心蝶阀密封副之间的比压可以通过执行器输出扭矩来改变,从而实现对密封面比压的调整。基于以上结构特点,三偏心蝶阀的使用密封性能好,使用寿命长,且对关闭位置无严格要求,即使在高压或含固体颗粒条件下,也能保持良好的密封性能,减少泄漏风险。但三偏心密封蝶阀的缺点是加工成本高,在同等条件下,双向密封效果不及双偏心软密封高性能蝶阀。因此,当介质压力大于1.0 MPa且没有双向等压密封要求时,可选择三偏心硬密封蝶阀。

图4  α1和α2角度示意图

2.2.3  经济性分析

中线蝶阀由于阀体衬胶不接触海水介质的原因,阀体材料可选择价格较低的碳钢,且其余零部件较少,加工简单,总体采购成本较低。但阀座密封圈若发生损坏,维修需将阀门整体从管道拆下,并返回阀门厂家重新衬胶,维修成本较高。

双偏心软密封高性能蝶阀阀体直接与海水接触,因此阀体材料选用价格较高的双相不锈钢,且其余零部件同样较少。双偏心软密封高性能蝶阀阀座为可更换阀座,一旦因阀座密封面损坏导致阀门泄漏,可直接现场更换阀座,便于维修且维修成本较低。但该结构对阀体、蝶板、阀座加工要求较为严格,加工复杂且加工成本高,总体价格相对中线蝶阀较高。

三偏心硬密封蝶阀与双偏心软密封高性能蝶阀相同,阀体直接与海水接触,因此阀体材料也选用价格较高的双相不锈钢;但其零部件较多,加工复杂且加工成本高,总体价格介于中线蝶阀和双偏心软密封高性能蝶阀之间。

03

常用海水蝶阀管道数据表

表4的介质为工艺海水,设计压力低于1.0 MPa,工况温度在橡胶正常使用温度范围内,在现已运行项目里通常选用中线衬胶蝶阀,在运行过程中使用效果良好。表5的介质为消防水,设计压力高于1.0 MPa,在现已运行项目里通常选用偏心蝶阀;其中,具有双向等压要求的工况选用双偏心软密封高性能蝶阀,其余选择三偏心硬密封蝶阀,在运行过程中使用效果良好。

表4  海水系统管道海水中线蝶阀数据表

公称直径/in
介质
工作参数
设计参数
试压

名称
密度/(kg/m3)
温度/℃
压力/MPa
温度/℃
压力/MPa
试压介质
试验压力/MPa
72
工艺海水
1030.00
25.0
0.30
65
0.50
1.0
72
工艺海水
1030.00
25.0
0.30
65
0.50
1.0
48
工艺海水
1030.00
25.0
0.30
65
0.50
1.0
48
工艺海水
1030.00
25.0
0.30
65
0.50
1.0
48
工艺海水
1030.00
25.0
0.30
65
0.50
1.0
48
工艺海水
1030.00
25.0
0.30
65
0.50
1.0
48
工艺海水
1030.00
25.0
0.30
65
0.50
1.0
48
工艺海水
1030.00
25.0
0.30
65
0.50
1.0
48
工艺海水
1030.00
25.0
0.30
65
0.50
1.0
48
工艺海水
1030.00
25.0
0.30
65
0.50
1.0
48
工艺海水
1030.00
25.0
0.30
65
0.50
1.0
48
工艺海水
1030.00
25.0
0.30
65
0.50
1.0
48
工艺海水
1030.00
25.0
0.30
65
0.50
1.0
48
工艺海水
1030.00
25.0
0.30
65
0.50
1.0
12
工艺海水
1030.00
25.0
0.30
65
0.50
1.0
12
工艺海水
1030.00
25.0
0.30
65
0.50
1.0
40
工艺海水
1030.00
25.0
0.30
65
0.50
1.0
40
工艺海水
1030.00
25.0
0.30
65
0.50
1.0

表5  高压消防水系统管道海水偏心蝶阀数据表

公称直径/in
介质
工作参数
设计参数
试压

名称
密度/(kg/m3)
温度/℃
压力/MPa
温度/℃
压力/MPa
密度/(kg/m3)
温度/℃
16
消防淡水
1000.00
AMB
1.20
65
1.55
1.6
16
消防淡水
1000.00
AMB
1.20
65
1.55
1.6
16
消防海水
1030.00
AMB
1.20
65
1.55
1.6
16
消防海水
1030.00
AMB
1.20
65
1.55
1.6
24
消防海水
1030.00
AMB
1.20
65
1.55
1.6
20
消防海水
1030.00
AMB
1.20
65
1.55
1.6
18
消防海水
1030.00
AMB
1.20
65
1.55
1.6
20
消防海水
1030.00
AMB
1.20
65
1.55
1.6
18
消防海水
1030.00
AMB
1.20
65
1.55
1.6
20
消防海水
1030.00
AMB
1.20
65
1.55
1.6
18
消防海水
1030.00
AMB
1.20
65
1.55
1.6
8
消防海水
1030.00
AMB
1.20
65
1.55
1.6
14
消防海水
1030.00
AMB
1.20
65
1.55
1.6
20
消防海水
1030.00
AMB
1.20
65
1.55
1.6
18
消防海水
1030.00
AMB
1.20
65
1.55
1.6

04

结语

本文以三种常见的海水蝶阀为分析对象,从材料选择、阀门密封性能、经济性三个方面进行阐述,得出的主要结论包括:(1)当介质压力<1.0 MPa时,选择中线衬胶蝶阀;(2)当介质压力>1.0 MPa且没有双向等压密封要求或介质含杂质较多时,选择三偏心硬密封蝶阀;(3)当介质压力>1.0 MPa且有等压双向密封要求时,选择双偏心高性能软密封蝶阀。

准确选择适合项目要求与管道工艺参数的海水蝶阀,不仅可以保证整体项目的正常运转,还可以节约整个项目的采购和维修成本。

*本文节选自《阀门 · 学术版》2025年第7期,文章内容不代表《阀门》立场,如有不同观点,可以留言讨论,友好交流,共同进步。